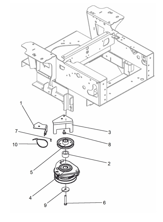
elektromagn.Kupplung

Zeichnung von Gravely PRO-TURN-48 (991306) elektromagn.Kupplung:

Klicken Sie auf diese Zeichnung

Sollten Sie Fragen zu einem Ersatzteil haben, können Sie uns gerne eine Ersatzteilanfrage stellen.

Hier finden Sie alle Ersatzteile von Gravely PRO-TURN-48 (991306) elektromagn.Kupplung:
Artikel 1 - 10 von 10


Artikel 1 - 10 von 10