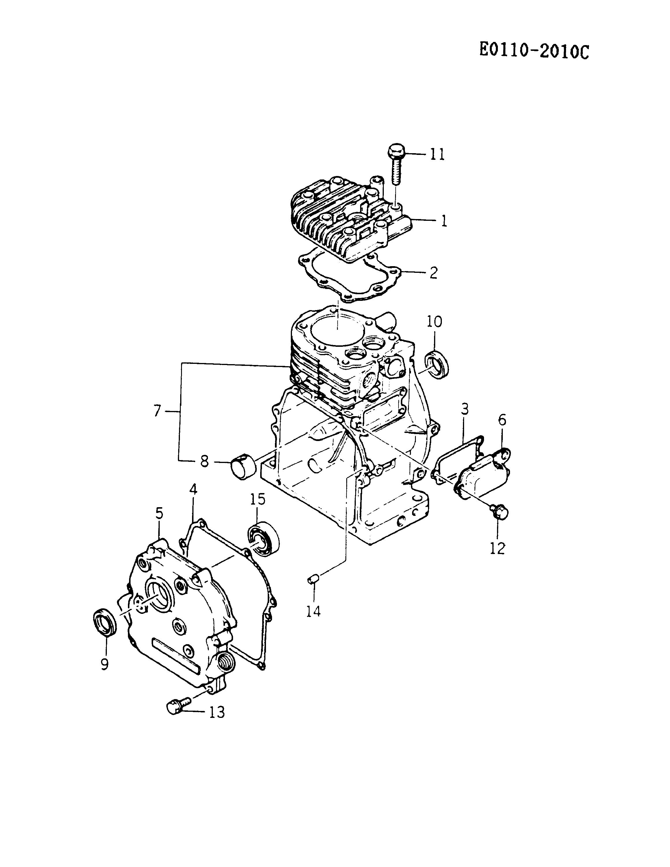
Zylinder / Kurbelgehäuse

Zeichnung von Kawasaki Generatoren GAT40A-AB02 (IG140A):

Klicken Sie auf diese Zeichnung

Sollten Sie Fragen zu einem Ersatzteil haben, können Sie uns gerne eine Ersatzteilanfrage stellen.

Hier finden Sie alle Ersatzteile von Kawasaki Generatoren GAT40A-AB02 (IG140A) aus der Zeichnung Zylinder / Kurbelgehäuse:
Artikel 1 - 6 von 6

50,01 € *
Lieferzeit: 2 - 10 Werktage
10,57 € *
Lieferzeit: 2 - 10 Werktage
4,71 € *
Lieferzeit: 2 - 10 Werktage
4,71 € *
Lieferzeit: 2 - 10 Werktage
17,76 € *
Lieferzeit: 2 - 10 Werktage
16,77 € *
Lieferzeit: 2 - 10 Werktage

Artikel 1 - 6 von 6