Zubehör - 82 cm (2)

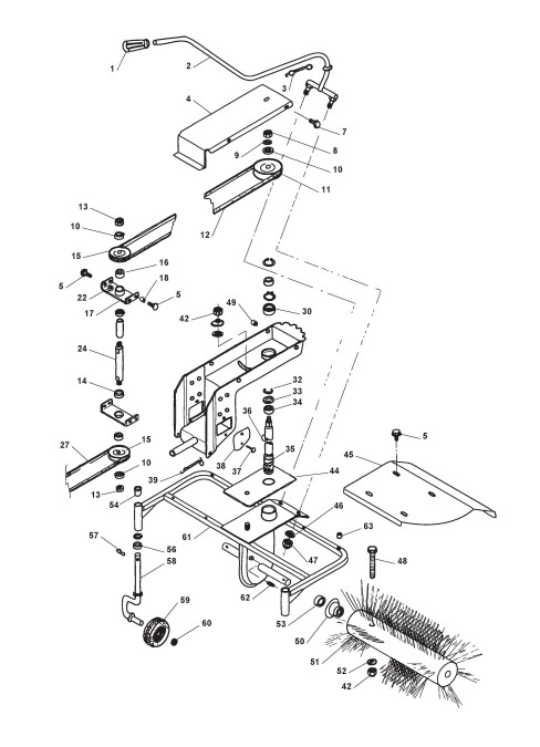
Zeichnung von Castelgarden TELLUS TELLUS 95 H (219510033/10) ab 2012:

Klicken Sie auf diese Zeichnung

Sollten Sie Fragen zu einem Ersatzteil haben, können Sie uns gerne eine Ersatzteilanfrage stellen.

Hier finden Sie alle Ersatzteile von Castelgarden TELLUS TELLUS 95 H (219510033/10) ab 2012 aus der Zeichnung Zubehör - 82 cm (2):
Artikel 1 - 3 von 3


Artikel 1 - 3 von 3