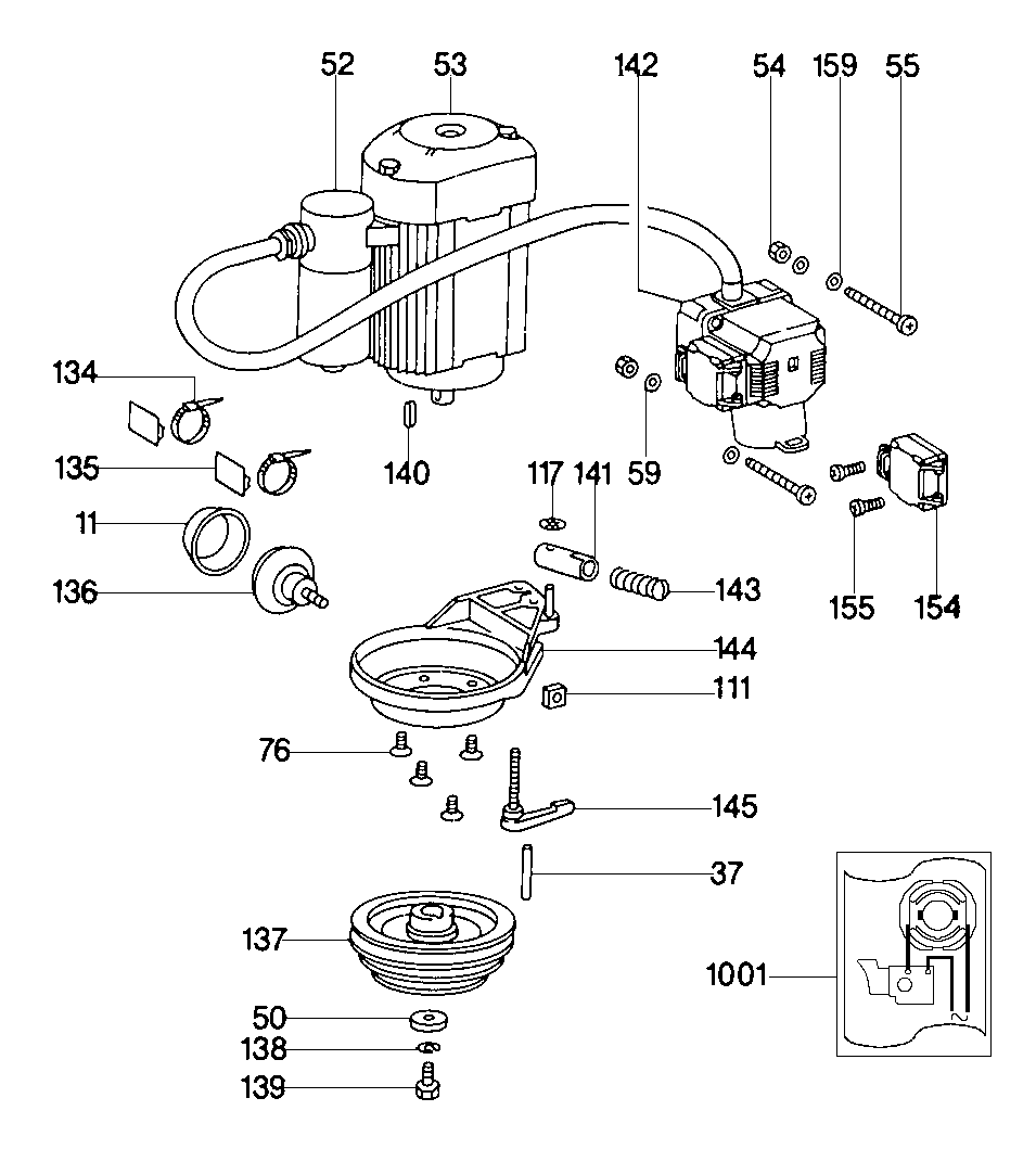
Zeichnung 3

Ersatzteile für Metabo TF 1690 W Magnum-stationär aus Zeichnung 3:

Zeichnung 3

Sollten Sie Fragen zu einem Ersatzteil von Metabo TF 1690 W Magnum-stationär 601690100 haben, können Sie uns gerne eine E-Mail (mit einem Foto vom Typenschild Ihres Gerätes) schreiben oder eine Ersatzteilanfrage stellen.

Folgende Ersatzteile für Metabo TF 1690 W Magnum-stationär können Sie hier bestellen:
Artikel 1 - 9 von 9


Artikel 1 - 9 von 9