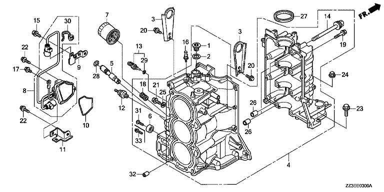
ZYLINDERBLOCK

Ersatzteile für Honda Außenbordmotoren BFP60AK1 XRTL (XRTL) Baugruppe ZYLINDERBLOCK

Zeichnung

Sollten Sie Fragen zu einem Ersatzteil vom Honda Außenbordmotoren BFP60AK1 XRTL (XRTL) haben, können Sie uns gerne eine E-Mail (mit einem Foto vom Typenschild Ihres Gerätes) schreiben oder eine Ersatzteilanfrage stellen.

Folgende Ersatzteile für Honda Außenbordmotoren BFP60AK1 XRTL (XRTL) können Sie hier bestellen:
Artikel 1 - 20 von 33

20,03 € *
Lieferzeit: 2 - 10 Werktage
20,03 € *
Lieferzeit: 2 - 10 Werktage

Artikel 1 - 20 von 33