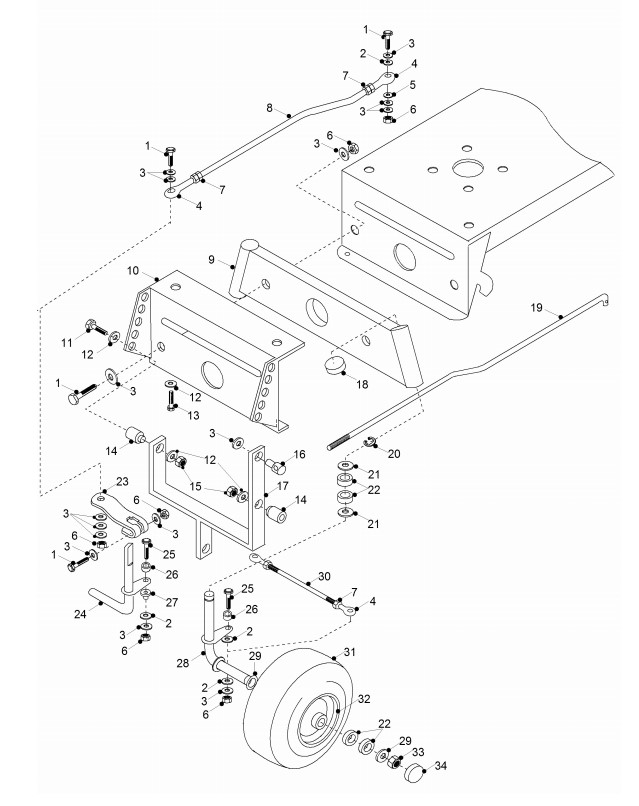
Vorderachse bis Bj 1992

Zeichnung von ECHO-Motorgeräte Rasentraktoren E-Serie E-Serie Vorderachse bis Bj 1992:

Klicken Sie auf diese Zeichnung

Sollten Sie Fragen zu einem Ersatzteil haben, können Sie uns gerne eine Ersatzteilanfrage stellen.

Hier finden Sie alle Ersatzteile von ECHO-Motorgeräte Rasentraktoren E-Serie E-Serie:
Artikel 1 - 20 von 20

3,35 € *
Lieferzeit: 2 - 10 Werktage
31,36 € *
Lieferzeit: 2 - 10 Werktage
162,45 € *
Lieferzeit: 2 - 10 Werktage
20,75 € *
Lieferzeit: 2 - 10 Werktage
41,54 € *
Lieferzeit: 2 - 10 Werktage
154,68 € *
Lieferzeit: 2 - 10 Werktage
159,76 € *
Lieferzeit: 2 - 10 Werktage
3,79 € *
Lieferzeit: 2 - 10 Werktage

Artikel 1 - 20 von 20