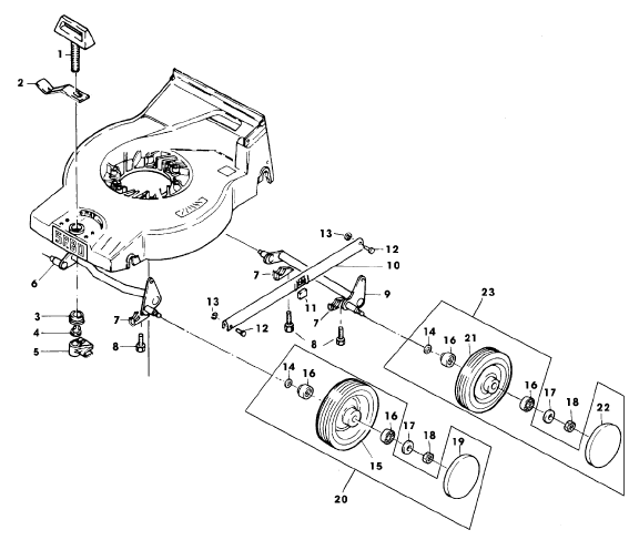
Vorder- Hinterachse

Zeichnung Sabo Rasenmäher Benzin-Rasenmäher 43-40 TURBOSTAR EDV-NR. SA300 Vorder- Hinterachse:

Klicken Sie auf diese Zeichnung

Sollten Sie Fragen zu einem Ersatzteil haben, können Sie uns gerne eine Ersatzteilanfrage stellen.

Hier finden Sie alle Ersatzteile von Sabo Rasenmäher Benzin-Rasenmäher 43-40 TURBOSTAR EDV-NR. SA300 Vorder- Hinterachse:
Artikel 1 - 18 von 18


Artikel 1 - 18 von 18