Verkleidungen

Zeichnung für MTD Rasentraktor Minirider 60 E mit der Geräte-Artikelnr. 13B4054-400 ab Baujahr 2009:

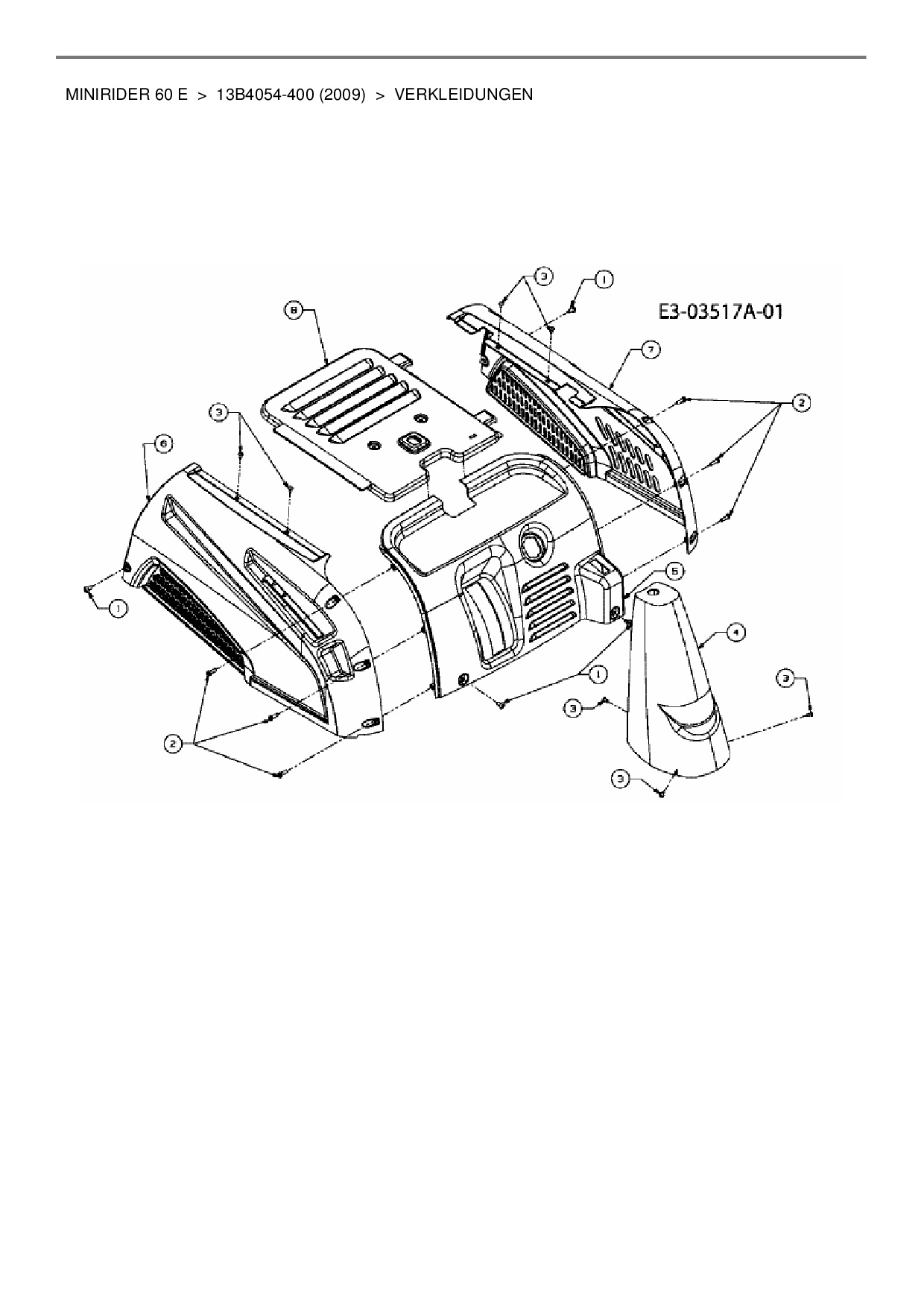
Zeichnung Verkleidungen

Die Ersatzteil-Zeichnung für Rasentraktor MTD Minirider 60 E als Download:
Download Ersatzteil-Zeichnung MTD Minirider 60 E Zeichnung Verkleidungen (PDF-Format)
Download Ersatzteil-Zeichnung MTD Minirider 60 E Zeichnung Verkleidungen (JPG-Format)

Sollten Sie Fragen zu einem Ersatzteil haben, können Sie uns gerne eine E-Mail (mit einem Foto vom Typenschild Ihres Gerätes) schreiben oder eine Ersatzteilanfrage stellen.

Ersatzteile für Rasentraktor MTD Minirider 60 E aus der Zeichnung Verkleidungen:
Artikel 1 - 8 von 8

4,88 € *
Lieferzeit: 2 - 10 Werktage
6,88 € *
Lieferzeit: 2 - 10 Werktage
5,88 € *
Lieferzeit: 2 - 10 Werktage
58,88 € *
Lieferzeit: 2 - 10 Werktage
57,87 € *
Lieferzeit: 2 - 10 Werktage
178,93 € *
Lieferzeit: 2 - 10 Werktage
178,93 € *
Lieferzeit: 2 - 10 Werktage
22,88 € *
Lieferzeit: 2 - 10 Werktage

Artikel 1 - 8 von 8