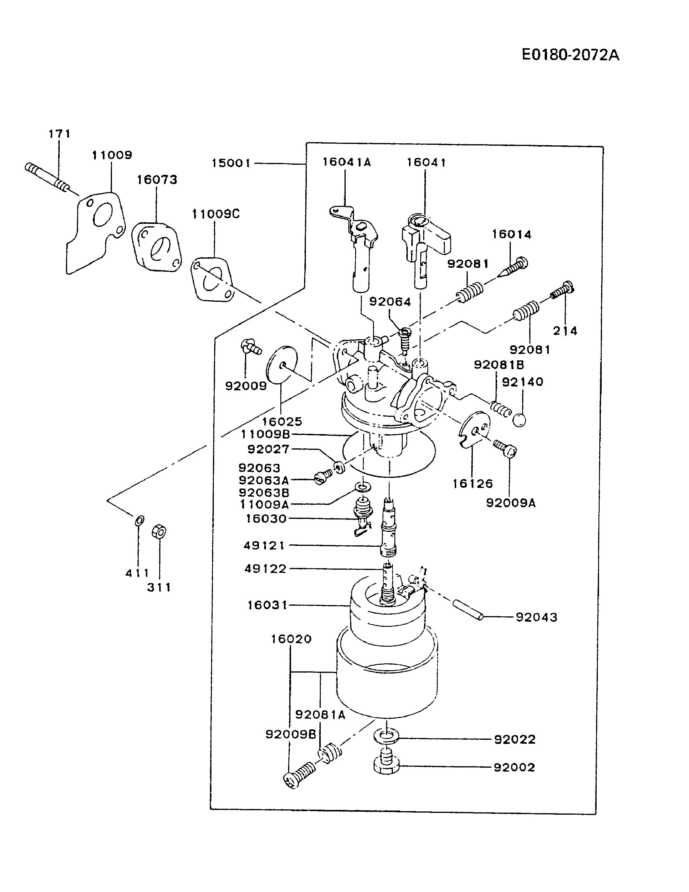
Vergaser

Zeichnung von Kawasaki Generatoren GAT00A-BA50 (GA1000A):

Klicken Sie auf diese Zeichnung

Sollten Sie Fragen zu einem Ersatzteil haben, können Sie uns gerne eine Ersatzteilanfrage stellen.

Hier finden Sie alle Ersatzteile von Kawasaki Generatoren GAT00A-BA50 (GA1000A) aus der Zeichnung Vergaser:
Artikel 1 - 10 von 18

5,58 € *
Lieferzeit: 2 - 10 Werktage
6,38 € *
Lieferzeit: 2 - 10 Werktage
16,42 € *
Lieferzeit: 2 - 10 Werktage
50,13 € *
Lieferzeit: 2 - 10 Werktage
51,48 € *
Lieferzeit: 2 - 10 Werktage
22,97 € *
Lieferzeit: 2 - 10 Werktage
4,90 € *
Lieferzeit: 2 - 10 Werktage
4,71 € *
Lieferzeit: 2 - 10 Werktage
4,71 € *
Lieferzeit: 2 - 10 Werktage

Artikel 1 - 10 von 18