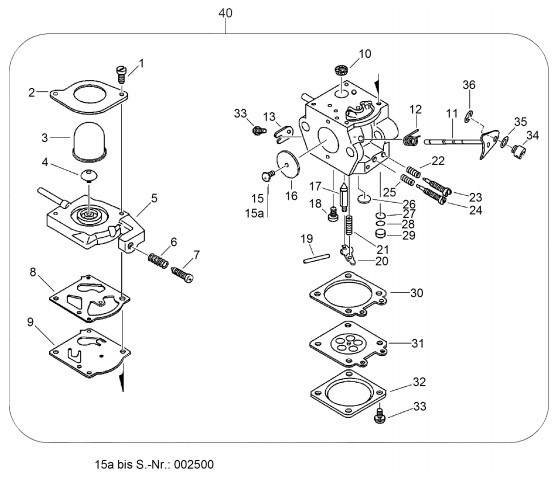
Vergaser WT-344

Zeichnung von ECHO Motorsensen SRM-3155L Vergaser WT-344:

Klicken Sie auf diese Zeichnung

Sollten Sie Fragen zu einem Ersatzteil haben, können Sie uns gerne eine Ersatzteilanfrage stellen.

Hier finden Sie alle Ersatzteile von ECHO Motorsensen SRM-3155L:
Artikel 1 - 20 von 34

5,47 € *
Lieferzeit: 2 - 10 Werktage
12,39 € *
Lieferzeit: 2 - 10 Werktage
5,16 € *
Lieferzeit: 2 - 10 Werktage
22,38 € *
Lieferzeit: 2 - 10 Werktage
6,35 € *
Lieferzeit: 2 - 10 Werktage
4,52 € *
Lieferzeit: 2 - 10 Werktage
15,19 € *
Lieferzeit: 2 - 10 Werktage
4,72 € *
Lieferzeit: 2 - 10 Werktage

Artikel 1 - 20 von 34