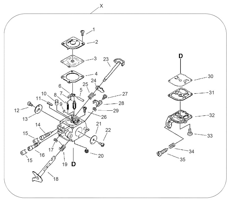
Vergaser C1Q-K79

Zeichnung von ECHO Motorsägen CS-510 CS-510 ab S.-Nr.: 36021091 Vergaser C1Q-K79:

Klicken Sie auf diese Zeichnung

Sollten Sie Fragen zu einem Ersatzteil haben, können Sie uns gerne eine Ersatzteilanfrage stellen.

Hier finden Sie alle Ersatzteile von ECHO Motorsägen CS-510 CS-510 ab S.-Nr.: 36021091:
Artikel 1 - 20 von 35

5,04 € *
Lieferzeit: 2 - 10 Werktage
4,40 € *
Lieferzeit: 2 - 10 Werktage
3,51 € *
Lieferzeit: 2 - 10 Werktage

Artikel 1 - 20 von 35