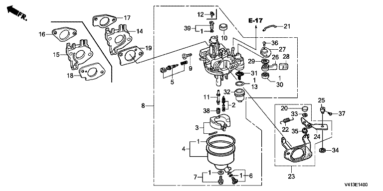
VERGASER

Ersatzteile für Honda Schneefräsen HSS970A EW (EW) Baugruppe VERGASER

Zeichnung

Sollten Sie Fragen zu einem Ersatzteil vom Honda Schneefräsen HSS970A EW (EW) haben, können Sie uns gerne eine E-Mail (mit einem Foto vom Typenschild Ihres Gerätes) schreiben oder eine Ersatzteilanfrage stellen.

Folgende Ersatzteile für Honda Schneefräsen HSS970A EW (EW) können Sie hier bestellen:
Artikel 1 - 20 von 44

30,07 € *
Lieferzeit: 2 - 10 Werktage
29,45 € *
Lieferzeit: 2 - 10 Werktage
23,21 € *
Lieferzeit: 2 - 10 Werktage
5,79 € *
Lieferzeit: 2 - 10 Werktage
11,30 € *
Lieferzeit: 2 - 10 Werktage
11,46 € *
Lieferzeit: 2 - 10 Werktage
4,55 € *
Lieferzeit: 2 - 10 Werktage
11,49 € *
Lieferzeit: 2 - 10 Werktage
11,49 € *
Lieferzeit: 2 - 10 Werktage
129,22 € *
Lieferzeit: 2 - 10 Werktage
39,67 € *
Lieferzeit: 2 - 10 Werktage
14,56 € *
Lieferzeit: 2 - 10 Werktage
14,56 € *
Lieferzeit: 2 - 10 Werktage
14,56 € *
Lieferzeit: 2 - 10 Werktage
14,56 € *
Lieferzeit: 2 - 10 Werktage

Artikel 1 - 20 von 44