TRAEGER

Ersatzteile für Honda Raupentransporter HP500HK1 BXE1 (BXE1/B) Baugruppe TRAEGER

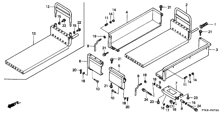
Zeichnung

Sollten Sie Fragen zu einem Ersatzteil vom Honda Raupentransporter HP500HK1 BXE1 (BXE1/B) haben, können Sie uns gerne eine E-Mail (mit einem Foto vom Typenschild Ihres Gerätes) schreiben oder eine Ersatzteilanfrage stellen.

Folgende Ersatzteile für Honda Raupentransporter HP500HK1 BXE1 (BXE1/B) können Sie hier bestellen:
Artikel 1 - 30 von 37

14,51 € *
Lieferzeit: 2 - 10 Werktage
14,51 € *
Lieferzeit: 2 - 10 Werktage
435,13 € *
Lieferzeit: 2 - 10 Werktage
435,13 € *
Lieferzeit: 2 - 10 Werktage
467,68 € *
Lieferzeit: 2 - 10 Werktage
467,68 € *
Lieferzeit: 2 - 10 Werktage

Artikel 1 - 30 von 37