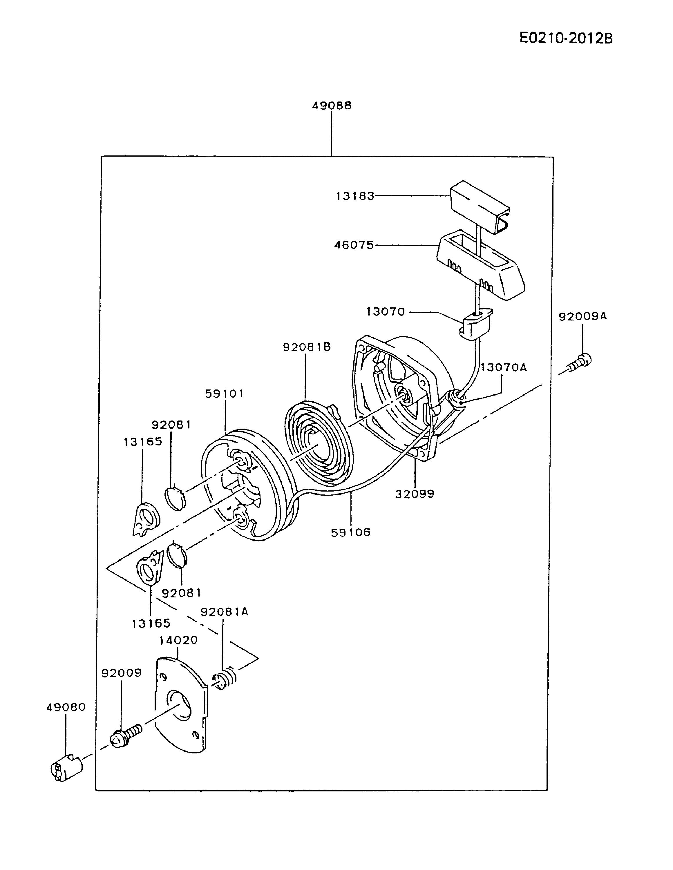
Starter

Zeichnung von Kawasaki Generatoren GA550A-BA62 (GA550A):

Klicken Sie auf diese Zeichnung

Sollten Sie Fragen zu einem Ersatzteil haben, können Sie uns gerne eine Ersatzteilanfrage stellen.

Hier finden Sie alle Ersatzteile von Kawasaki Generatoren GA550A-BA62 (GA550A) aus der Zeichnung Starter:
Artikel 1 - 2 von 2

5,50 € *
Lieferzeit: 2 - 10 Werktage
4,71 € *
Lieferzeit: 2 - 10 Werktage

Artikel 1 - 2 von 2