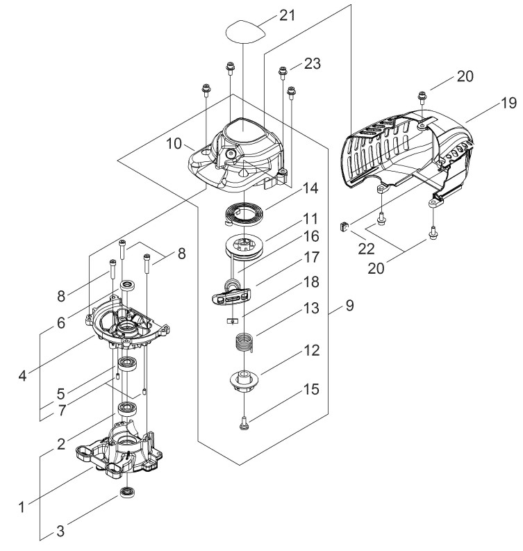
Starter, Kurbelgehäuse

Zeichnung von shindaiwa Heckenscheren DH2200ST Starter, Kurbelgehäuse:

Klicken Sie auf diese Zeichnung

Sollten Sie Fragen zu einem Ersatzteil haben, können Sie uns gerne eine Ersatzteilanfrage stellen.

Hier finden Sie alle Ersatzteile von shindaiwa Heckenscheren DH2200ST:
Artikel 1 - 10 von 19


Artikel 1 - 10 von 19