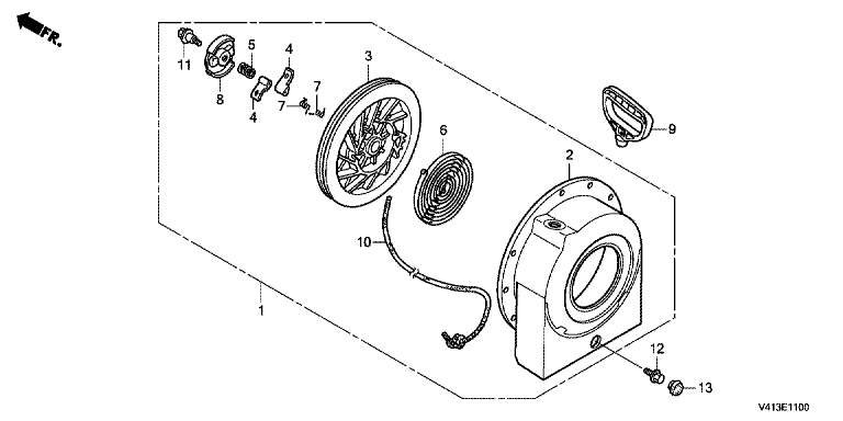
SEILZUGSTARTER (1)

Ersatzteile für Honda Schneefräsen HSS970 ETS (ETS) Baugruppe SEILZUGSTARTER (1)

Zeichnung

Sollten Sie Fragen zu einem Ersatzteil vom Honda Schneefräsen HSS970 ETS (ETS) haben, können Sie uns gerne eine E-Mail (mit einem Foto vom Typenschild Ihres Gerätes) schreiben oder eine Ersatzteilanfrage stellen.

Folgende Ersatzteile für Honda Schneefräsen HSS970 ETS (ETS) können Sie hier bestellen:
Artikel 1 - 11 von 11

9,98 € *
Lieferzeit: 2 - 10 Werktage
8,66 € *
Lieferzeit: 2 - 10 Werktage
21,27 € *
Lieferzeit: 2 - 10 Werktage
21,92 € *
Lieferzeit: 2 - 10 Werktage
6,69 € *
Lieferzeit: 2 - 10 Werktage
14,42 € *
Lieferzeit: 2 - 10 Werktage

Artikel 1 - 11 von 11