Pumpe TCTP 55 ( 4172271 )

Ersatzteile für Top Craft Pumpe TCTP 55 ( 4172271 )

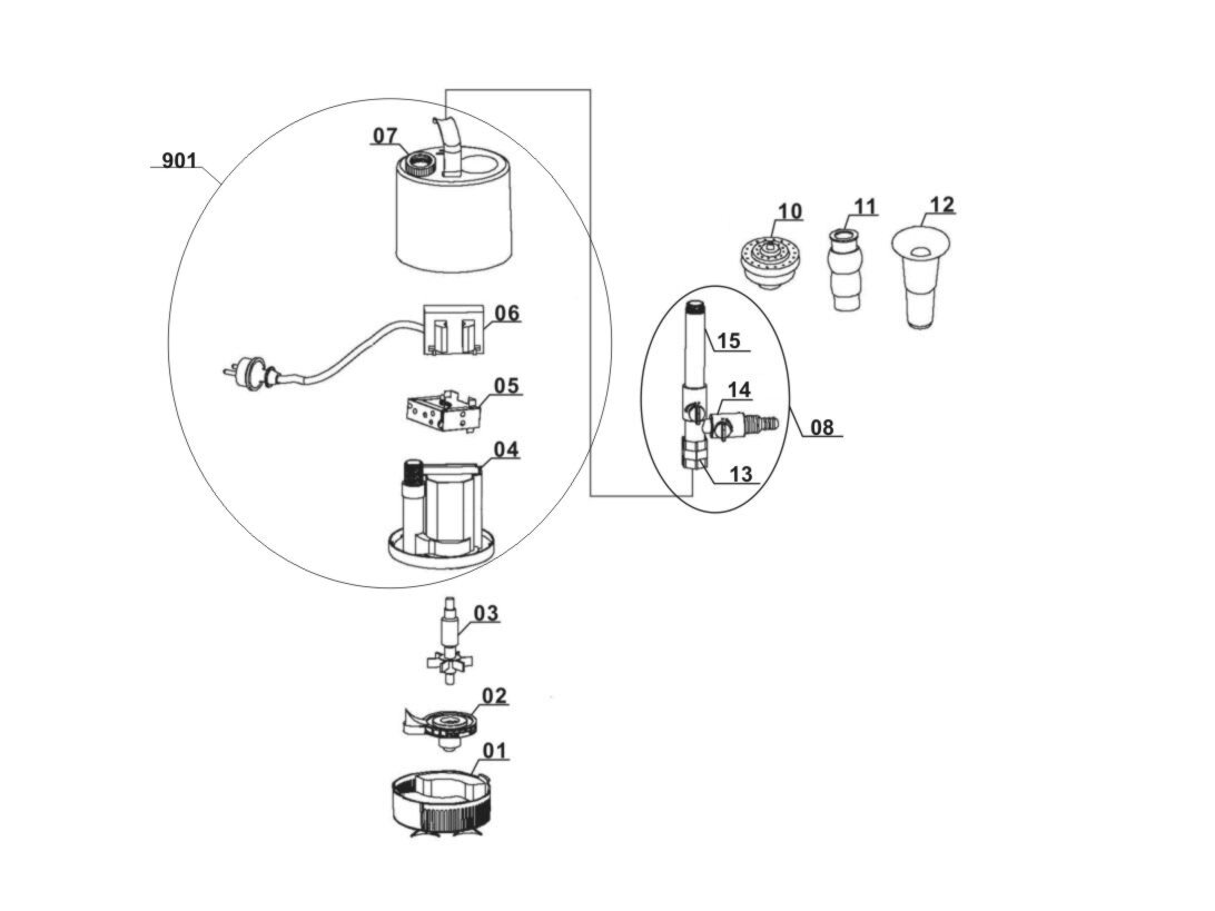
Zeichnung

Sollten Sie Fragen zu einem Ersatzteil vom Top Craft Pumpe TCTP 55 ( 4172271 ) haben, können Sie uns gerne eine E-Mail (mit einem Foto vom Typenschild Ihres Gerätes) schreiben oder eine Ersatzteilanfrage stellen.

Folgende Ersatzteile für Top Craft Pumpe TCTP 55 ( 4172271 ) können Sie hier bestellen:
Artikel 1 - 10 von 13

14,10 € *
Lieferzeit: 2 - 10 Werktage
10,32 € *
Lieferzeit: 2 - 10 Werktage
10,27 € *
Lieferzeit: 2 - 10 Werktage
37,35 € *
Lieferzeit: 2 - 10 Werktage
11,88 € *
Lieferzeit: 2 - 10 Werktage
4,84 € *
Lieferzeit: 2 - 10 Werktage
66,11 € *
Lieferzeit: 2 - 10 Werktage
17,92 € *
Lieferzeit: 2 - 10 Werktage
7,70 € *
Lieferzeit: 2 - 10 Werktage

Artikel 1 - 10 von 13