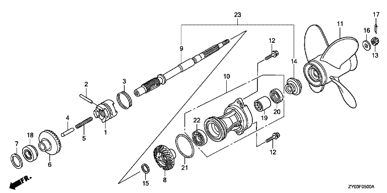
PROPELLERWELLE/PROPELLER

Ersatzteile für Honda Außenbordmotoren BF15D3 LHSU (LHSU)

Zeichnung

Sollten Sie Fragen zu einem Ersatzteil vom Honda Außenbordmotoren BF15D3 LHSU (LHSU) haben, können Sie uns gerne eine E-Mail (mit einem Foto vom Typenschild Ihres Gerätes) schreiben oder eine Ersatzteilanfrage stellen.

Folgende Ersatzteile für Honda Außenbordmotoren BF15D3 LHSU (LHSU) können Sie hier bestellen:
Artikel 1 - 20 von 33

244,74 € *
Lieferzeit: 2 - 10 Werktage
391,84 € *
Lieferzeit: 2 - 10 Werktage

Artikel 1 - 20 von 33