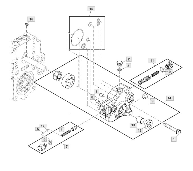
Motorpumpe - ST906936

Ersatzteile für Rasentraktor X948 (PC13378) von John Deere aus der Zeichnung Motorpumpe - ST906936:

Zeichnung

Sollten Sie Fragen zu einem Ersatzteil von John Deere Rasentraktor X948 (PC13378) haben, können Sie uns gerne eine E-Mail (mit einem Foto vom Typenschild Ihres Gerätes) schreiben oder eine Ersatzteilanfrage stellen.

Folgende Ersatzteile für John Deere Rasentraktor X948 (PC13378) aus der Zeichnung Motorpumpe - ST906936 können Sie hier bestellen:
Artikel 1 - 2 von 2

4,62 € *
Lieferzeit: 2 - 10 Werktage
4,62 € *
Lieferzeit: 2 - 10 Werktage

Artikel 1 - 2 von 2