Motor

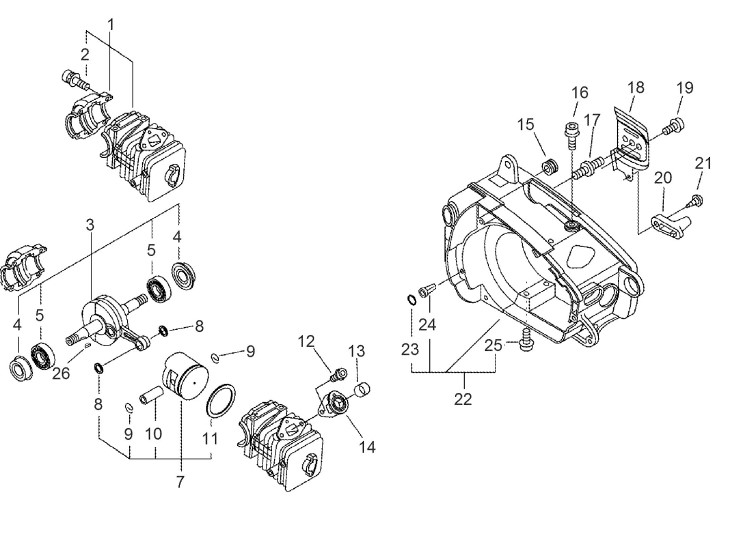
Zeichnung von ECHO Motorsägen CS-280WES CS-280WES bis S.-Nr.: 37006105 Motor:

Klicken Sie auf diese Zeichnung

Sollten Sie Fragen zu einem Ersatzteil haben, können Sie uns gerne eine Ersatzteilanfrage stellen.

Hier finden Sie alle Ersatzteile von ECHO Motorsägen CS-280WES CS-280WES bis S.-Nr.: 37006105:
Artikel 1 - 20 von 22


Artikel 1 - 20 von 22