Motor

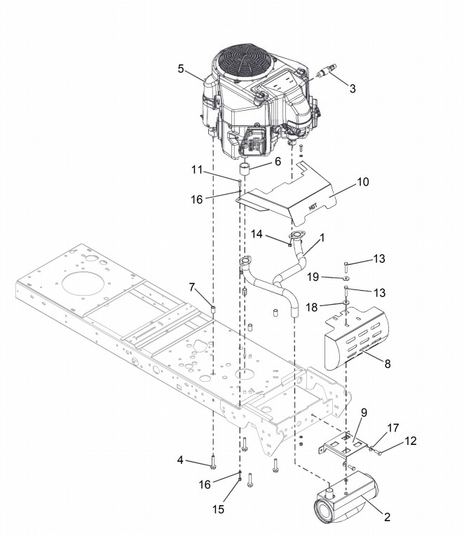
Zeichnung von Ariens Rasentraktoren A-4XXA-Serie A-426A-4WD - A1100115 Motor:

Klicken Sie auf diese Zeichnung

Sollten Sie Fragen zu einem Ersatzteil haben, können Sie uns gerne eine Ersatzteilanfrage stellen.

Hier finden Sie alle Ersatzteile von Ariens Rasentraktoren A-4XXA-Serie A-426A-4WD - A1100115 aus der Zeichnung Motor:
Artikel 1 - 10 von 10


Artikel 1 - 10 von 10