Motor A-416KAWA, A-418KAWA

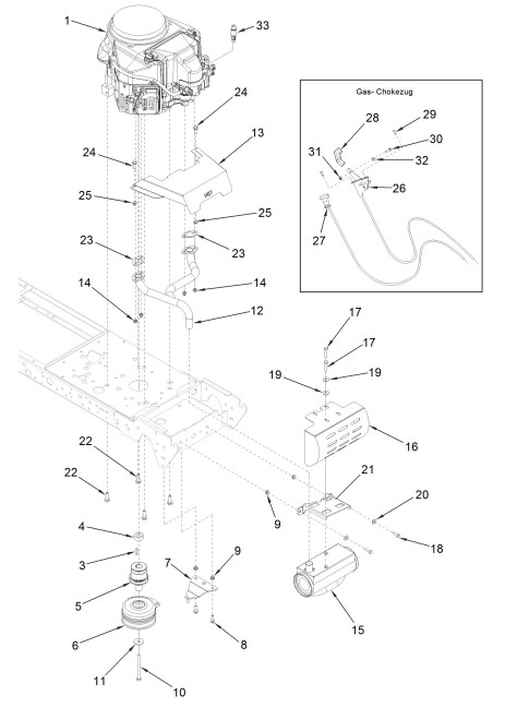
Zeichnung von ECHO-Motorgeräte Rasentraktoren A-Serie A-416KAWA-4WD Bj. 2016 Motor A-416KAWA, A-418KAWA:

Klicken Sie auf diese Zeichnung

Sollten Sie Fragen zu einem Ersatzteil haben, können Sie uns gerne eine Ersatzteilanfrage stellen.

Hier finden Sie alle Ersatzteile von ECHO-Motorgeräte Rasentraktoren A-Serie A-416KAWA-4WD Bj. 2016:
Artikel 1 - 23 von 23


Artikel 1 - 23 von 23