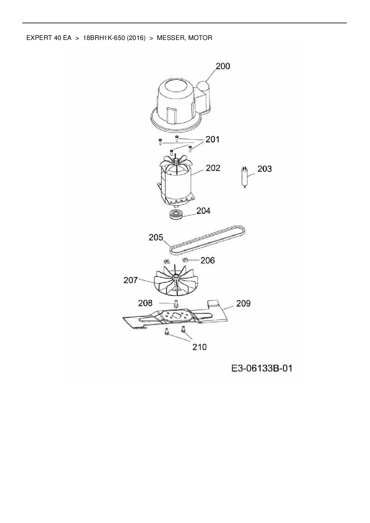
Messer, Motor

Zeichnung für Wolf-Garten Expert Elektromäher mit Antrieb Expert 40 EA mit der Geräte-Artikelnr. 18BRH1K-650 ab Baujahr 2016:

Zeichnung Messer, Motor

Die Ersatzteil-Zeichnung für Elektromäher mit Antrieb Wolf-Garten Expert Expert 40 EA als Download:
Download Ersatzteil-Zeichnung Wolf-Garten Expert Expert 40 EA Zeichnung Messer, Motor (PDF-Format)
Download Ersatzteil-Zeichnung Wolf-Garten Expert Expert 40 EA Zeichnung Messer, Motor (JPG-Format)

Sollten Sie Fragen zu einem Ersatzteil haben, können Sie uns gerne eine E-Mail (mit einem Foto vom Typenschild Ihres Gerätes) schreiben oder eine Ersatzteilanfrage stellen.

Ersatzteile für Elektromäher mit Antrieb Wolf-Garten Expert Expert 40 EA aus der Zeichnung Messer, Motor:
Artikel 1 - 10 von 10


Artikel 1 - 10 von 10