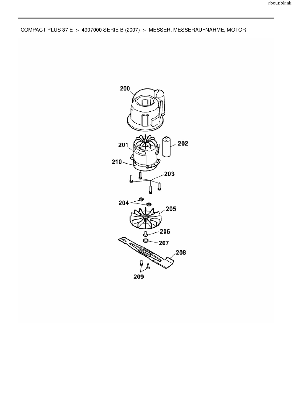
Messer, Messeraufnahme, Motor

Zeichnung für Wolf-Garten Elektromäher Compact plus 37 E mit der Geräte-Artikelnr. 4907000 Serie B ab Baujahr 2007:

Zeichnung Messer, Messeraufnahme, Motor

Die Ersatzteil-Zeichnung für Elektromäher Wolf-Garten Compact plus 37 E als Download:
Download Ersatzteil-Zeichnung Wolf-Garten Compact plus 37 E Zeichnung Messer, Messeraufnahme, Motor (PDF-Format)
Download Ersatzteil-Zeichnung Wolf-Garten Compact plus 37 E Zeichnung Messer, Messeraufnahme, Motor (JPG-Format)

Sollten Sie Fragen zu einem Ersatzteil haben, können Sie uns gerne eine E-Mail (mit einem Foto vom Typenschild Ihres Gerätes) schreiben oder eine Ersatzteilanfrage stellen.

Ersatzteile für Elektromäher Wolf-Garten Compact plus 37 E aus der Zeichnung Messer, Messeraufnahme, Motor:
Artikel 1 - 10 von 10


Artikel 1 - 10 von 10