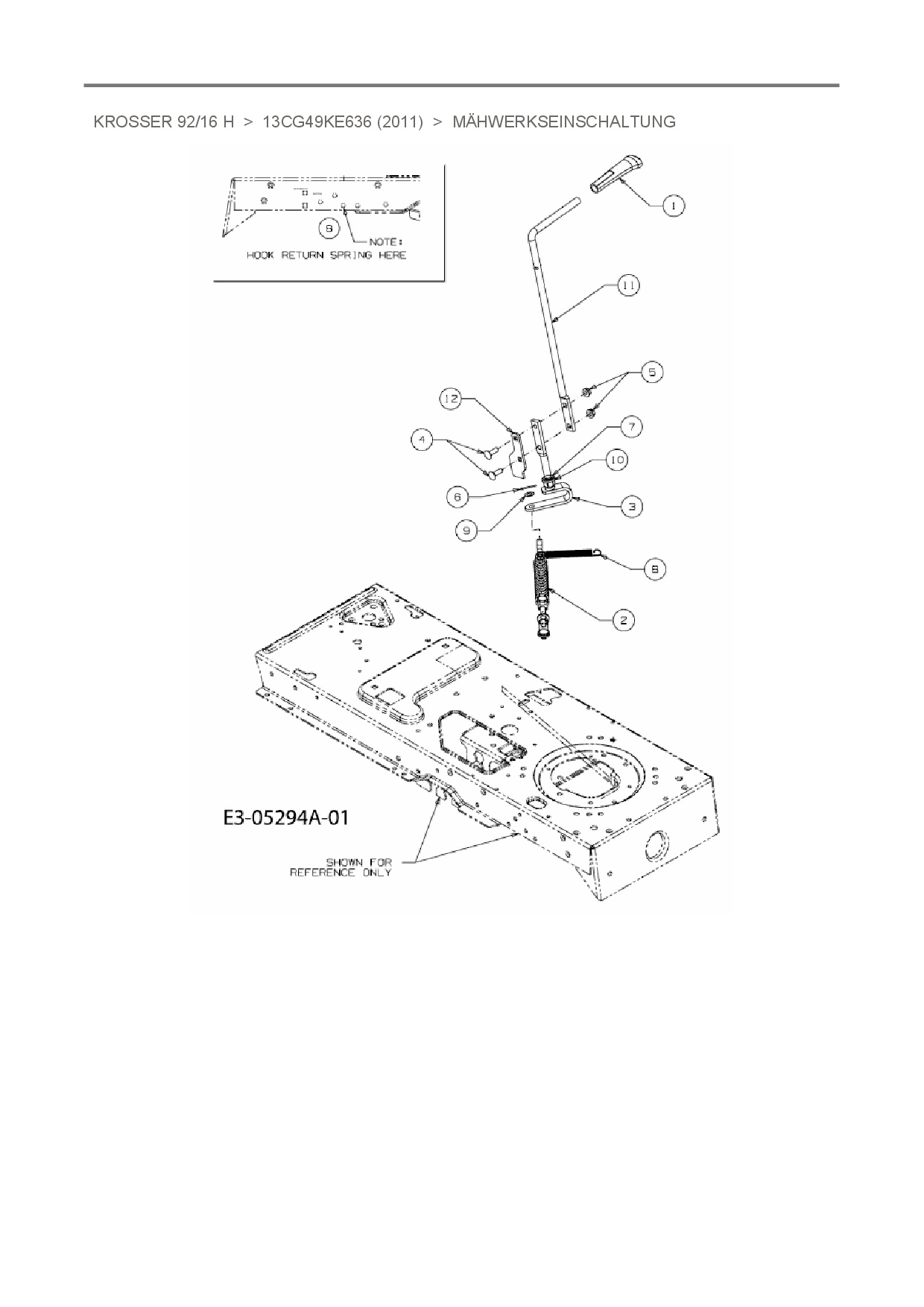
Mähwerkseinschaltung

Zeichnung für Oleo-Mac Rasentraktor Krosser 92/16 H mit der Geräte-Artikelnr. 13CG49KE636 ab Baujahr 2011:

Zeichnung Mähwerkseinschaltung

Die Ersatzteil-Zeichnung für Rasentraktor Oleo-Mac Krosser 92/16 H als Download:
Download Ersatzteil-Zeichnung Oleo-Mac Krosser 92/16 H Zeichnung Mähwerkseinschaltung (PDF-Format)
Download Ersatzteil-Zeichnung Oleo-Mac Krosser 92/16 H Zeichnung Mähwerkseinschaltung (JPG-Format)

Sollten Sie Fragen zu einem Ersatzteil haben, können Sie uns gerne eine E-Mail (mit einem Foto vom Typenschild Ihres Gerätes) schreiben oder eine Ersatzteilanfrage stellen.

Ersatzteile für Rasentraktor Oleo-Mac Krosser 92/16 H aus der Zeichnung Mähwerkseinschaltung:
Artikel 1 - 9 von 9

9,88 € *
Lieferzeit: 2 - 10 Werktage
5,88 € *
Lieferzeit: 2 - 10 Werktage
5,88 € *
Lieferzeit: 2 - 10 Werktage
9,88 € *
Lieferzeit: 2 - 10 Werktage
12,88 € *
Lieferzeit: 2 - 10 Werktage

Artikel 1 - 9 von 9