Mähmesser

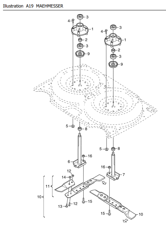
Zeichnung Sabo Rasentraktoren Frontmäher Mähdeck 92M (92-14 HF) Mähmesser:

Klicken Sie auf diese Zeichnung

Sollten Sie Fragen zu einem Ersatzteil haben, können Sie uns gerne eine Ersatzteilanfrage stellen.

Hier finden Sie alle Ersatzteile von Sabo Rasentraktoren Frontmäher Mähdeck 92M (92-14 HF) Mähmesser:
Artikel 1 - 16 von 16


Artikel 1 - 16 von 16