Mähdeck

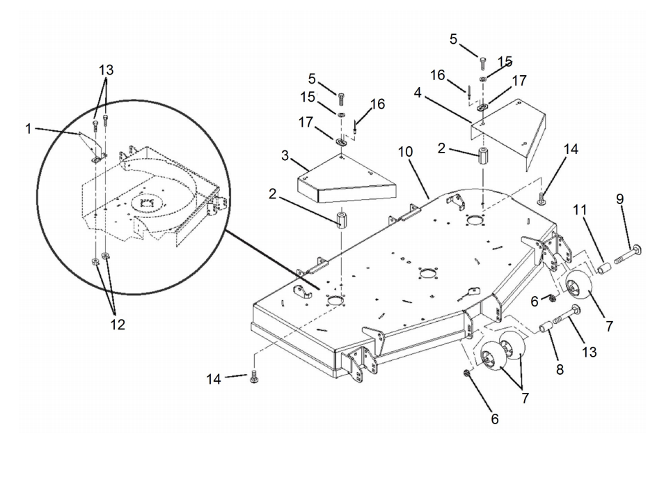
Zeichnung von Gravely PRO-MASTER 260Z (992317) S.-NR.: AB 006000 Mähdeck :

Klicken Sie auf diese Zeichnung

Sollten Sie Fragen zu einem Ersatzteil haben, können Sie uns gerne eine Ersatzteilanfrage stellen.

Hier finden Sie alle Ersatzteile von Gravely PRO-MASTER 260Z (992317) S.-NR.: AB 006000 Mähdeck :
Artikel 1 - 10 von 17


Artikel 1 - 10 von 17