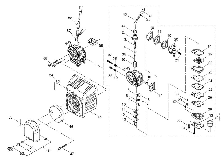
Luftfilter, Vergaser DPV11W-18F

Zeichnung von shindaiwa Motorsensen C-Serie, Motorsensen mit U-Griff C350 Luftfilter, Vergaser DPV11W-18F:

Klicken Sie auf diese Zeichnung

Sollten Sie Fragen zu einem Ersatzteil haben, können Sie uns gerne eine Ersatzteilanfrage stellen.

Hier finden Sie alle Ersatzteile von shindaiwa Motorsensen C-Serie, Motorsensen mit U-Griff C350:
Artikel 1 - 10 von 56