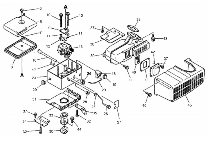
Luftfilter, Auspuff

Zeichnung von ECHO Laubbläser, tragbar PB-210E Luftfilter, Auspuff:

Klicken Sie auf diese Zeichnung

Sollten Sie Fragen zu einem Ersatzteil haben, können Sie uns gerne eine Ersatzteilanfrage stellen.

Hier finden Sie alle Ersatzteile von ECHO Laubbläser, tragbar PB-210E:
Artikel 1 - 20 von 30


Artikel 1 - 20 von 30