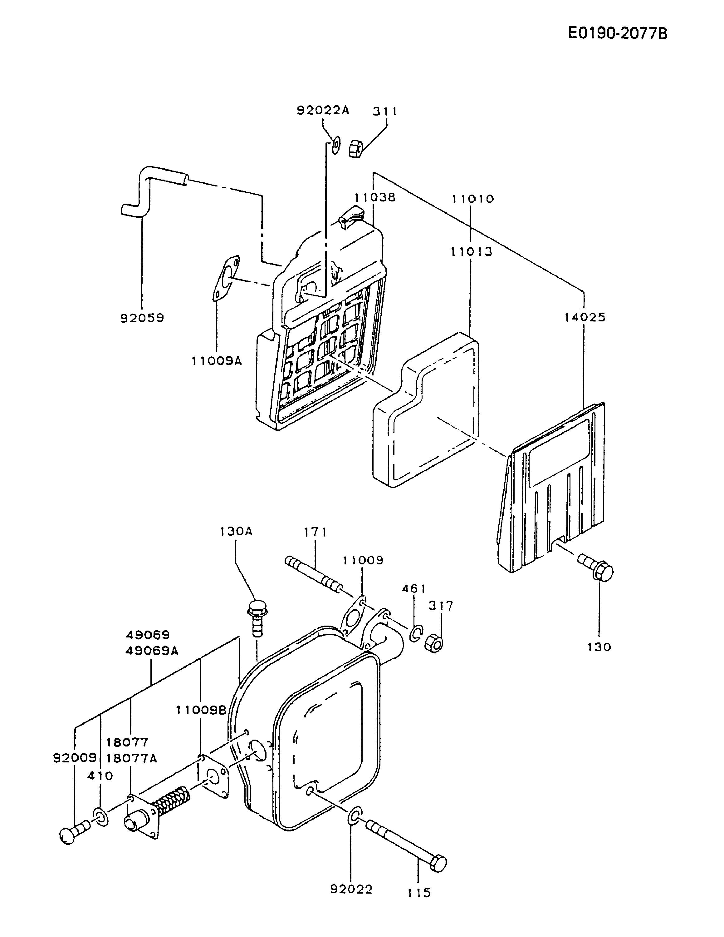
Luftfilter / Auspuff

Zeichnung von Kawasaki Generatoren GAW30A-FS50 (GA2300A):

Klicken Sie auf diese Zeichnung

Sollten Sie Fragen zu einem Ersatzteil haben, können Sie uns gerne eine Ersatzteilanfrage stellen.

Hier finden Sie alle Ersatzteile von Kawasaki Generatoren GAW30A-FS50 (GA2300A) aus der Zeichnung Luftfilter / Auspuff:
Artikel 1 - 10 von 10

4,71 € *
Lieferzeit: 2 - 10 Werktage
4,71 € *
Lieferzeit: 2 - 10 Werktage
4,71 € *
Lieferzeit: 2 - 10 Werktage
4,71 € *
Lieferzeit: 2 - 10 Werktage
4,71 € *
Lieferzeit: 2 - 10 Werktage
4,71 € *
Lieferzeit: 2 - 10 Werktage
4,71 € *
Lieferzeit: 2 - 10 Werktage
4,71 € *
Lieferzeit: 2 - 10 Werktage
4,71 € *
Lieferzeit: 2 - 10 Werktage

Artikel 1 - 10 von 10