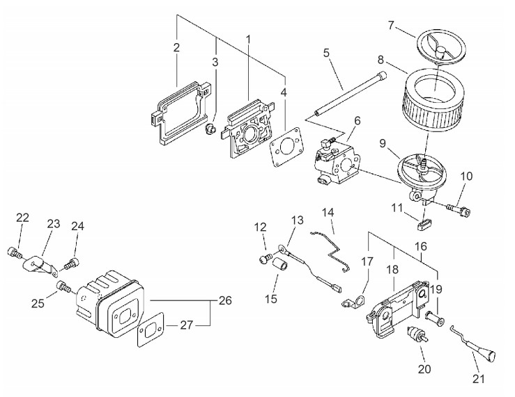
Luftfilter, Auspuff

Zeichnung von ECHO Motorsägen CS-510 CS-510 ab S.-Nr.: 36021091 Luftfilter, Auspuff:

Klicken Sie auf diese Zeichnung

Sollten Sie Fragen zu einem Ersatzteil haben, können Sie uns gerne eine Ersatzteilanfrage stellen.

Hier finden Sie alle Ersatzteile von ECHO Motorsägen CS-510 CS-510 ab S.-Nr.: 36021091:
Artikel 1 - 20 von 27


Artikel 1 - 20 von 27