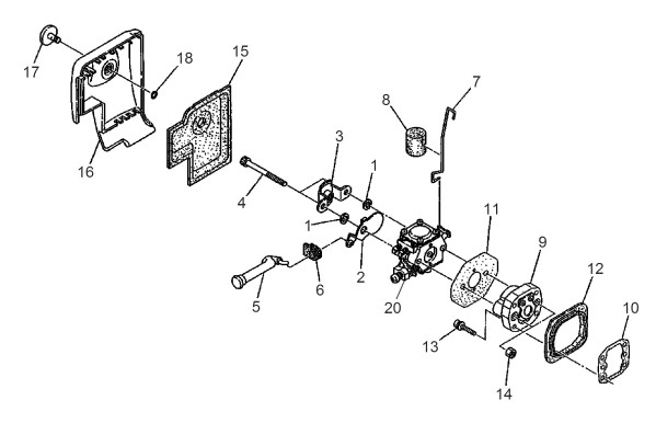
Luftfilter, Ansaugkanal

Zeichnung von shindaiwa Motorsägen 357 Luftfilter, Ansaugkanal:

Klicken Sie auf diese Zeichnung

Sollten Sie Fragen zu einem Ersatzteil haben, können Sie uns gerne eine Ersatzteilanfrage stellen.

Hier finden Sie alle Ersatzteile von shindaiwa Motorsägen 357:
Artikel 1 - 19 von 19


Artikel 1 - 19 von 19