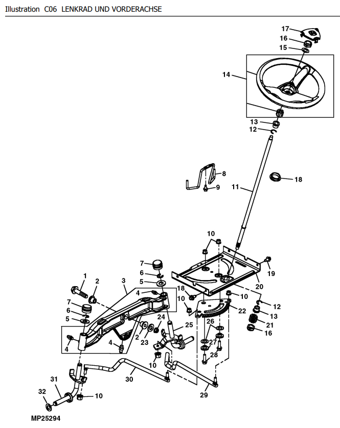
Lenkrad, Vorderachse

Zeichnung Sabo Rasentraktoren Seitenauswurf 108-17HS EDV-NR.SKU20237 Lenkrad, Vorderachse:

Klicken Sie auf diese Zeichnung

Sollten Sie Fragen zu einem Ersatzteil haben, können Sie uns gerne eine Ersatzteilanfrage stellen.

Hier finden Sie alle Ersatzteile von Sabo Rasentraktoren Seitenauswurf 108-17HS EDV-NR.SKU20237 Lenkrad, Vorderachse:
Artikel 1 - 29 von 29


Artikel 1 - 29 von 29