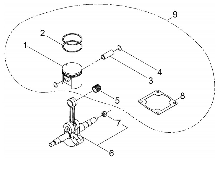
Kurbelwelle, Kolben

Zeichnung von shindaiwa Motorsägen 452s 452s bis S.-Nr.: 36021460 Kurbelwelle, Kolben:

Klicken Sie auf diese Zeichnung

Sollten Sie Fragen zu einem Ersatzteil haben, können Sie uns gerne eine Ersatzteilanfrage stellen.

Hier finden Sie alle Ersatzteile von shindaiwa Motorsägen 452s 452s bis S.-Nr.: 36021460:
Artikel 1 - 8 von 8


Artikel 1 - 8 von 8