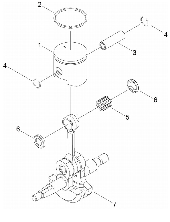
Kurbelwelle, Kolben

Zeichnung von shindaiwa Bläser EB221S Kurbelwelle, Kolben:

Klicken Sie auf diese Zeichnung

Sollten Sie Fragen zu einem Ersatzteil haben, können Sie uns gerne eine Ersatzteilanfrage stellen.

Hier finden Sie alle Ersatzteile von shindaiwa Bläser EB221S:
Artikel 1 - 7 von 7


Artikel 1 - 7 von 7