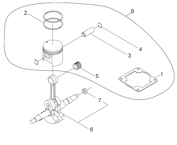
Kurbelwelle, Kolben

Zeichnung von shindaiwa Motorsägen 452Gs Kurbelwelle, Kolben:

Klicken Sie auf diese Zeichnung

Sollten Sie Fragen zu einem Ersatzteil haben, können Sie uns gerne eine Ersatzteilanfrage stellen.

Hier finden Sie alle Ersatzteile von shindaiwa Motorsägen 452Gs:
Artikel 1 - 8 von 8


Artikel 1 - 8 von 8