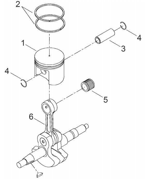
Kurbelwelle, Kolben

Zeichnung von shindaiwa Motorsägen 389S Kurbelwelle, Kolben:

Klicken Sie auf diese Zeichnung

Sollten Sie Fragen zu einem Ersatzteil haben, können Sie uns gerne eine Ersatzteilanfrage stellen.

Hier finden Sie alle Ersatzteile von shindaiwa Motorsägen 389S:
Artikel 1 - 6 von 6


Artikel 1 - 6 von 6