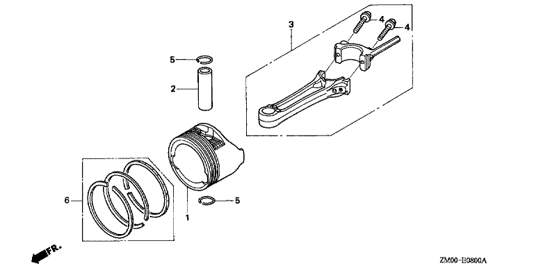
KOLBEN/PLEUELSTANGE

Ersatzteile für Honda Motoren GCV160A N7S1 (N7S1) Baugruppe KOLBEN/PLEUELSTANGE

Zeichnung

Sollten Sie Fragen zu einem Ersatzteil vom Honda Motoren GCV160A N7S1 (N7S1) haben, können Sie uns gerne eine E-Mail (mit einem Foto vom Typenschild Ihres Gerätes) schreiben oder eine Ersatzteilanfrage stellen.

Folgende Ersatzteile für Honda Motoren GCV160A N7S1 (N7S1) können Sie hier bestellen:
Artikel 1 - 10 von 10

49,29 € *
Lieferzeit: 2 - 10 Werktage
119,91 € *
Lieferzeit: 2 - 10 Werktage
16,36 € *
Lieferzeit: 2 - 10 Werktage
40,98 € *
Lieferzeit: 2 - 10 Werktage
72,76 € *
Lieferzeit: 2 - 10 Werktage
72,76 € *
Lieferzeit: 2 - 10 Werktage
6,17 € *
Lieferzeit: 2 - 10 Werktage

Artikel 1 - 10 von 10