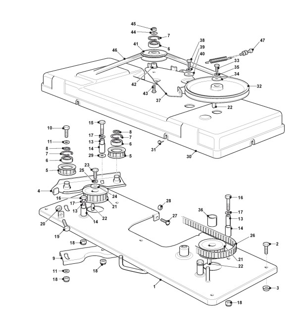
Hebelhaltung der Messer

Zeichnungen von Stiga Aufsitzmäher ESTATE 9102 WX mit Geräte Nr. 2T1430381/ST2P ab Baujahr 2022

Zeichnung


Beachten Sie bitte, dass die Gerätebezeichnung Stiga Aufsitzmäher ESTATE 9102 WX, das Baujahr ab 2022 und die Geräte Nr. 2T1430381/ST2P lauten muss, denn nur so kann sichergestellt werden, dass das Ersatzteil passt.
Nur die hier aufgeführten Ersatzteile sind für dieses Gerät verfügbar. Alle anderen Ersatzteile sind nicht mehr lieferbar.
Ersatzteile von Stiga Aufsitzmäher ESTATE 9102 WX (Geräte-ID 2T1430381/ST2P) ab 2022:
Artikel 1 - 30 von 46


Artikel 1 - 30 von 46