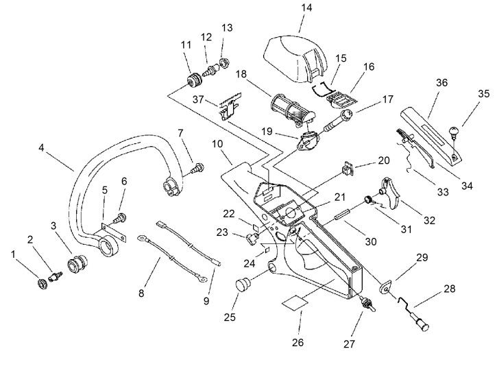
Griffe, Luftfilter

Zeichnung von ECHO Motorsägen CS-270WES CS-270WES ab S.-Nr: 36006131 Griffe, Luftfilter:

Klicken Sie auf diese Zeichnung

Sollten Sie Fragen zu einem Ersatzteil haben, können Sie uns gerne eine Ersatzteilanfrage stellen.

Hier finden Sie alle Ersatzteile von ECHO Motorsägen CS-270WES CS-270WES ab S.-Nr: 36006131:
Artikel 1 - 20 von 34


Artikel 1 - 20 von 34