Getriebe

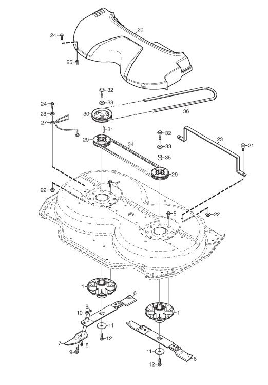
Zeichnungen von Stiga Frontaufsitzmäher Villa / Ready Mähdeck mit Geräte Nr. 13-2970-02 ab Baujahr 2008

Zeichnung


Beachten Sie bitte, dass die Gerätebezeichnung Stiga Frontaufsitzmäher Villa / Ready Mähdeck, das Baujahr ab 2008 und die Geräte Nr. 13-2970-02 lauten muss, denn nur so kann sichergestellt werden, dass das Ersatzteil passt.
Nur die hier aufgeführten Ersatzteile sind für dieses Gerät verfügbar. Alle anderen Ersatzteile sind nicht mehr lieferbar.
Ersatzteile von Stiga Frontaufsitzmäher VILLA 105 COMBI (Geräte ID 13-2970-02) Baujahr ab Bj 2008:
Artikel 1 - 20 von 24


Artikel 1 - 20 von 24