Gestänge bis Bj. 2002

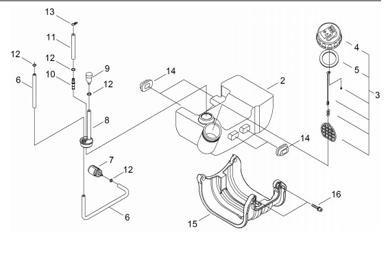
Zeichnung von shindaiwa Motorsensen C-Serie, Motorsensen mit U-Griff C230 Gestänge bis Bj. 2002:

Klicken Sie auf diese Zeichnung

Sollten Sie Fragen zu einem Ersatzteil haben, können Sie uns gerne eine Ersatzteilanfrage stellen.

Hier finden Sie alle Ersatzteile von shindaiwa Motorsensen C-Serie, Motorsensen mit U-Griff C230:
Artikel 1 - 2 von 2


Artikel 1 - 2 von 2