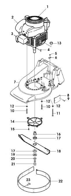
Gehäuse, Motor, Messerbalken

Zeichnung Sabo Rasenmäher Profi-Rasenmäher 43-PRO EDV-NR.SA344 Gehäuse, Motor, Messerbalken:

Klicken Sie auf diese Zeichnung

Sollten Sie Fragen zu einem Ersatzteil haben, können Sie uns gerne eine Ersatzteilanfrage stellen.

Hier finden Sie alle Ersatzteile von Sabo Rasenmäher Profi-Rasenmäher 43-PRO EDV-NR.SA344 Gehäuse, Motor, Messerbalken:
Artikel 1 - 25 von 25


Artikel 1 - 25 von 25