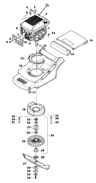
Gehäuse, Motor, Messerbalken

Zeichnung Sabo Rasenmäher Benzin-Rasenmäher 43-4 TURBOSTAR EDV-NR. SA132 Gehäuse, Motor, Messerbalken:

Klicken Sie auf diese Zeichnung

Sollten Sie Fragen zu einem Ersatzteil haben, können Sie uns gerne eine Ersatzteilanfrage stellen.

Hier finden Sie alle Ersatzteile von Sabo Rasenmäher Benzin-Rasenmäher 43-4 TURBOSTAR EDV-NR. SA132 Gehäuse, Motor, Messerbalken:
Artikel 1 - 20 von 35


Artikel 1 - 20 von 35