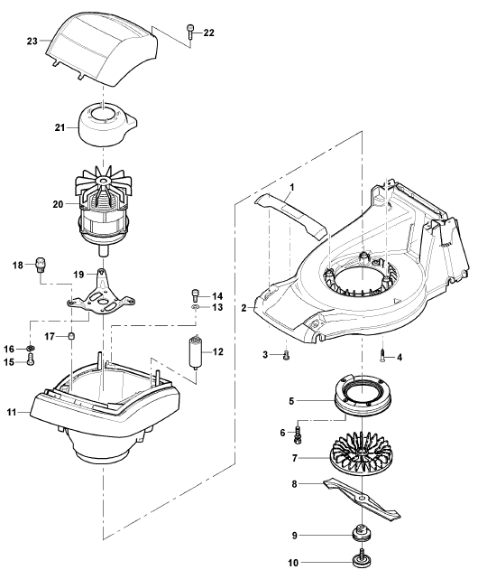
Gehäuse, Motor, Lüfter, Mähwerk

Zeichnung Sabo Rasenmäher Elektro-Rasenmäher 43-EL COMPACT EDV-NR.SA1457 Gehäuse, Motor, Lüfter, Mähwerk:

Klicken Sie auf diese Zeichnung

Sollten Sie Fragen zu einem Ersatzteil haben, können Sie uns gerne eine Ersatzteilanfrage stellen.

Hier finden Sie alle Ersatzteile von Sabo Rasenmäher Elektro-Rasenmäher 43-EL COMPACT EDV-NR.SA1457 Gehäuse, Motor, Lüfter, Mähwerk:
Artikel 1 - 23 von 23


Artikel 1 - 23 von 23