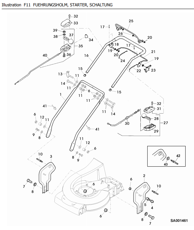
Führung, Starter, Schaltung

Zeichnung Sabo Rasenmäher Profi-Rasenmäher 52-PRO VARIO EDV-NR.SA274 Führung, Starter, Schaltung:

Klicken Sie auf diese Zeichnung

Sollten Sie Fragen zu einem Ersatzteil haben, können Sie uns gerne eine Ersatzteilanfrage stellen.

Hier finden Sie alle Ersatzteile von Sabo Rasenmäher Profi-Rasenmäher 52-PRO VARIO EDV-NR.SA274 Führung, Starter, Schaltung:
Artikel 1 - 40 von 40


Artikel 1 - 40 von 40