Führung, Anlasser, Schaltgestänge

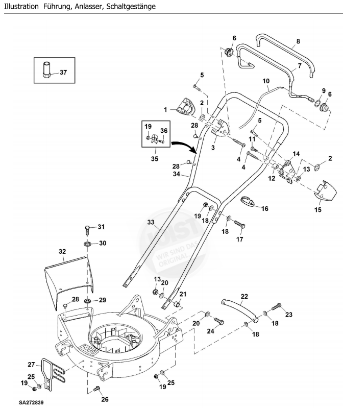
Zeichnung Sabo Rasenmäher Profi-Rasenmäher 43-PRO S EDV-NR. SA301119 Führung, Anlasser, Schaltgestänge:

Klicken Sie auf diese Zeichnung

Sollten Sie Fragen zu einem Ersatzteil haben, können Sie uns gerne eine Ersatzteilanfrage stellen.

Hier finden Sie alle Ersatzteile von Sabo Rasenmäher Profi-Rasenmäher 43-PRO S EDV-NR. SA301119 Führung, Anlasser, Schaltgestänge:
Artikel 1 - 31 von 31


Artikel 1 - 31 von 31