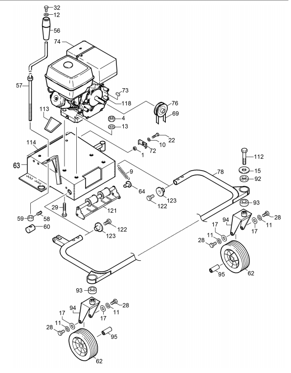
Fahrgestell, Motor

Zeichnung von Erco Laub- und Abfallsauger ES-400er Serie ES-400-04 Fahrgestell, Motor:

Klicken Sie auf diese Zeichnung

Sollten Sie Fragen zu einem Ersatzteil haben, können Sie uns gerne eine Ersatzteilanfrage stellen.

Hier finden Sie alle Ersatzteile von Erco Laub- und Abfallsauger ES-400er Serie ES-400-04 aus der Zeichnung Fahrgestell, Motor:
Artikel 1 - 20 von 22


Artikel 1 - 20 von 22