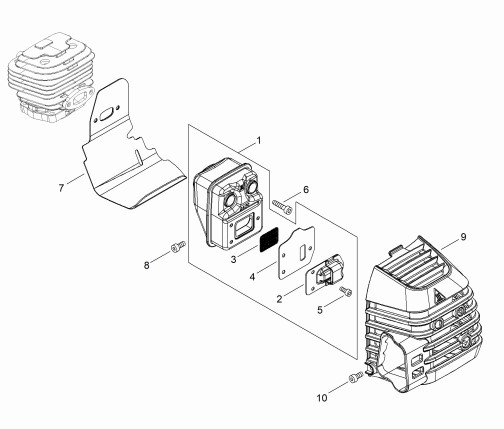
Auspuff

Zeichnung von ECHO Motorsensen Kreiselscheren EKS-PRS3020-230U Auspuff:

Klicken Sie auf diese Zeichnung

Sollten Sie Fragen zu einem Ersatzteil haben, können Sie uns gerne eine Ersatzteilanfrage stellen.

Hier finden Sie alle Ersatzteile von ECHO Motorsensen Kreiselscheren EKS-PRS3020-230U:
Artikel 1 - 10 von 10


Artikel 1 - 10 von 10