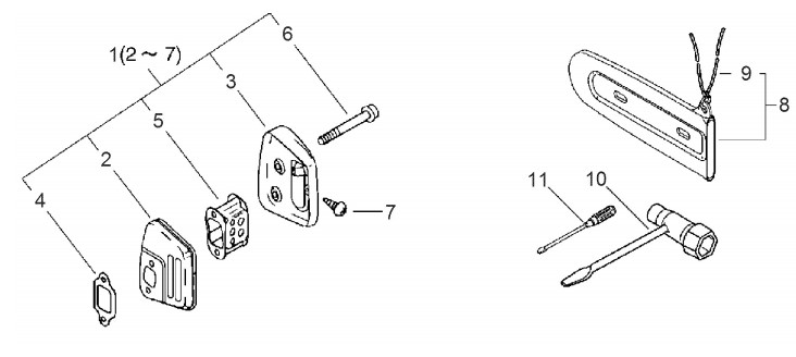
Auspuff, Werkzeug

Zeichnung von ECHO Motorsägen CS-351WES CS-351WES ab S.-Nr.: 36006371 Auspuff, Werkzeug:

Klicken Sie auf diese Zeichnung

Sollten Sie Fragen zu einem Ersatzteil haben, können Sie uns gerne eine Ersatzteilanfrage stellen.

Hier finden Sie alle Ersatzteile von ECHO Motorsägen CS-351WES CS-351WES ab S.-Nr.: 36006371:
Artikel 1 - 10 von 10


Artikel 1 - 10 von 10